Η εποχή της φθηνής ενέργειας έχει περάσει ανεπιστρεπτί, με συνέπεια να διατεθούν τεράστια ποσά για έρευνα και τεχνολογίες εξοικονόμησης ενέργειας. Έτσι κατασκευάστηκαν λέβητες πολλαπλών διαδρομών, οικολογικοί καυστήρες, βελτιωμένες θερμομονώσεις και, φυσικά, λέβητες συμπύκνωσης με την τεχνολογία των οποίων ασχολείται το παρόν άρθρο.
Άρθρο του κ. Παναγιώτη και της κ. Δήμητρας Φαντάκη (από την έντυπη έκδοση Νοεμβρίου 2023)
Πενήντα χρόνια συμπληρώθηκαν φέτος από την πρώτη πετρελαϊκή κρίση τον Οκτώβριο του 1973, γεγονός τεράστιας οικονομικοπολιτικής –και όχι μόνο– σημασίας σε παγκόσμιο επίπεδο, το οποίο συνηθίζεται να συσχετίζεται –και σωστά– με την έκρηξη του τέταρτου αραβοϊσραηλινού πολέμου.
Ο συγκεκριμένος πόλεμος, γνωστός και ως «πόλεμος του Γιομ Κιπούρ» (επειδή ξέσπασε την ομώνυμη ιερή ημέρα των Εβραίων) άρχισε με τη συντονισμένη επίθεση της Αιγύπτου και της Συρίας εναντίον του Ισραήλ, με σκοπό την ανάκτηση των εδαφών που είχαν προσαρτήσει οι Ισραηλινοί στον «Πόλεμο των έξι ημερών» το 1967.
Οι αραβικές χώρες αντέδρασαν με πιέσεις στη Δύση για να πιέσει με τη σειρά της το Ισραήλ σε παραχωρήσεις. Μοχλός πίεσης αποτέλεσε η τιμή του πετρελαίου, που από 3 δολάρια το βαρέλι πλησίασε τα 12.
Αυτό είχε βαρύνουσες επιπτώσεις παγκοσμίως σε οικονομικό και σε γεωπολιτικό επίπεδο. Η εποχή της φθηνής ενέργειας έφτασε απότομα στο τέλος της, με αποτέλεσμα να πληγούν οι οικονομίες της Δύσης και να τεθεί τέρμα στην οικονομική ευμάρεια της πρώιμης μεταπολεμικής περιόδου, όπου οι γρήγοροι ρυθμοί ανάπτυξης συνοδεύονταν από μικρό πληθωρισμό και σχεδόν μηδενική ανεργία.
Ο τριπλασιασμός της τιμής του αργού πετρελαίου συνέβαλε αποφασιστικά στην αύξηση της τιμής των προϊόντων και στη ραγδαία άνοδο του πληθωρισμού, και τελικά συνέβαλε στην εμφάνιση μονιμότερων διαρθρωτικών προβλημάτων στις δυτικές οικονομίες.
Και αφού «ουδέν κακόν αμιγές καλού», έτσι και αυτή η πρώτη ενεργειακή κρίση είχε τις θετικές της επιπτώσεις στην επιστήμη και στην τεχνολογία, καθώς διατέθηκαν μεγάλα ποσά για έρευνα και τεχνολογίες εξοικονόμησης ενέργειας. Σχεδιάστηκαν κινητήρες με μεγαλύτερο βαθμό απόδοσης, μπήκαν στο παιχνίδι νέα καύσιμα, δόθηκε έμφαση στην αεροδυναμικότητα των οχημάτων, άρχισε η χρήση των ανανεώσιμων πηγών ενέργειας κλπ.
Φυσικά, από αυτό το «πανηγύρι» δεν γινόταν να απουσιάζουν οι κεντρικές θερμάνσεις. Λέβητες πολλαπλών διαδρομών, καυστήρες οικολογικοί, νέοι επιβραδυντές καυσαερίων, βελτιωμένες θερμομονώσεις, τεχνολογίες αντιστάθμισης, λέβητες συμπύκνωσης είναι μερικά από τα θετικά αποτελέσματα της υψηλής τιμής των καυσίμων.
Στο παρόν άρθρο θα ασχοληθούμε με την τεχνολογία συμπύκνωσης που εφαρμόζεται στους επίτοιχους λέβητες αερίου –και όχι μόνο.
Η καύση
Κατά την καύση υδρογονανθράκων, στα προϊόντα της καύσης υπάρχει εκτός των άλλων και νερό (H2O).
CνΗ2ν+2 + Ο2 –> CO2 + H2O
Το νερό αυτό είναι σε μορφή ατμού και μεταφέρει με τα καυσαέρια και ποσό θερμότητας ίσο με αυτό που απορρόφησε για να μετατραπεί από υγρό σε ατμό. Η θερμότητα αυτή ονομάζεται «λανθάνουσα θερμότητα ατμοποίησης» και προσμετράται για τον προσδιορισμό της ανώτερης θερμογόνου δύναμης του καυσίμου.
Το ποσοστό κατά το οποίο πρέπει να προσαυξηθεί η κατωτέρα θερμογόνος δύναμη για να υπολογιστεί η ανωτέρα είναι περίπου:
- 10% στο φυσικό αέριο.
- 7,5% στο υγροποιημένο αέριο πετρελαίων (Liquified Petroleum Gas [LPG]).
- 6% στα υγρά καύσιμα (μαζούτ, ντίζελ) .
- 3% στα στερεά καύσιμα.

Στο σχήμα 1 παρουσιάζονται οι απώλειες ενός κλασικού παραδοσιακού λέβητα, από τον οποίο, αν έβγαιναν τα καυσαέρια με θερμοκρασία μικρότερη από αυτή του σημείου δρόσου του νερού, θα επωφελούμασταν με λανθάνουσα θερμότητα και θα αυξανόταν ο βαθμός απόδοσης του λέβητα. Αυτό, λοιπόν, ακριβώς κάνουν οι λέβητες συμπύκνωσης (βλ. σχήμα 2).

Το σημείο δρόσου του ατμοποιημένου νερού των καυσαερίων εξαρτάται από το ποσοστό του CO2 στα καυσαέρια. Όταν αυξάνεται το CO2, αυξάνεται το σημείο δρόσου και η συμπύκνωση, και μαζί με αυτή και ο βαθμός απόδοσης.
Από τον πίνακα 1 διαπιστώνουμε ότι μια περιεκτικότητα 8-9% CO2 στα καυσαέρια του φυσικού αερίου ανεβάζει τη θερμοκρασία συμπύκνωσης στους 55°C. Για να επιτευχθεί αυτή η θερμοκρασία καυσαερίων, θα πρέπει το νερό που επιστρέφει στο λέβητα να έχει θερμοκρασία μικρότερη από αυτή.

Αυτό επιτυγχάνεται στα συστήματα θέρμανσης χαμηλών θερμοκρασιών (δαπεδοθέρμανση) και στα κλασικά συστήματα θέρμανσης με θερμορύθμιση (αντιστάθμισης καιρού), με ιδανική περίπτωση το συνδυασμό και των δύο (αντιστάθμιση και σύστημα χαμηλών θερμοκρασιών).
Στο διάγραμμα 1 παρατηρούμε τον τρόπο λειτουργίας α) ενός παραδοσιακού λέβητα σε συμβατικό σύστημα θέρμανσης με αντιστάθμιση και ελάχιστη αναμενόμενη εξωτερική θερμοκρασία -5°C και β) ενός λέβητα συμπύκνωσης σε σύστημα δαπεδοθέρμανσης (χαμηλών θερμοκρασιών) με αντιστάθμιση και ελάχιστη αναμενόμενη εξωτερική θερμοκρασία -5°C. Είναι εμφανές ότι το κέρδος της λανθάνουσας θερμότητας στο ένα σύστημα αρχίζει από τους 4°C και πάνω, ενώ στο άλλο σύστημα πάνω από τους -5°C.

Οι λέβητες συμπύκνωσης είναι κατασκευασμένοι με υλικά και μεθόδους που τους καθιστούν ανθεκτικούς στις διαβρωτικές συνθήκες στις οποίες λειτουργούν, και έχει προβλεφθεί η αποχέτευση του νερού που συμπυκνώνεται.
Ο κανονισμός UNI 11071 ορίζει τον τρόπο απόρριψης των συμπυκνωμάτων, τα οποία έχουν PH 3,5 – 4,5 (είναι δηλαδή όξινα), και ανάλογα με την ισχύ του λέβητα αποχετεύονται απευθείας ή κατόπιν επεξεργασίας (αδρανοποίησης).
Λέβητες συμπύκνωσης
Οι επίτοιχοι λέβητες συμπύκνωσης μπορούν να φθάσουν στιγμιαία και σε απόδοση 94-96%.
Για να το πετύχουν αυτό συνδυάζουν:
- Συμπύκνωση
- Αντιστάθμιση
- Προανάμειξη.
Τεχνολογία προανάμειξης
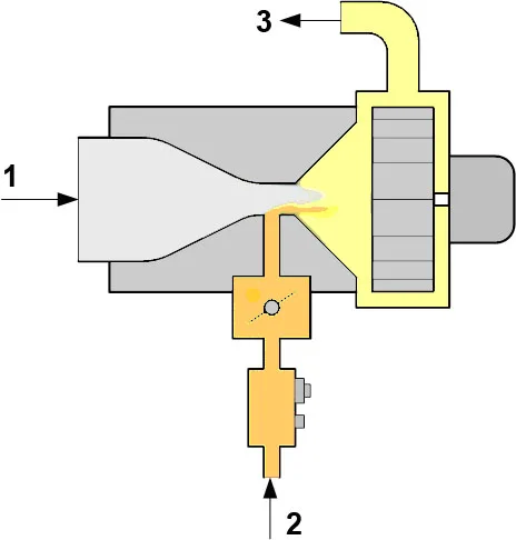
Ο καυστήρας στους νέους λέβητες συμπύκνωσης διαφέρει σημαντικά σε σχέση με τους παλαιού τύπου επίτοιχους λέβητες. Φέρει μία διάτρητη κυλινδρική κεφαλή καύσης (εικόνα 1), στην οποία φθάνει προαναμειγμένο καύσιμο μείγμα αερίου – αέρα.

Η καύση γίνεται με μορφή πολλών μικρών φλογών που εξασφαλίζουν μικρή θερμοκρασία καύσης (βλ. εικόνα 2) και παραγωγή χαμηλών οξειδίων του αζώτου (ΝΟΧ).

Το μείγμα προσάγεται από έναν ανεμιστήρα που βρίσκεται μεταξύ του καυστήρα και ενός συστήματος Venturi το οποίο φροντίζει για την ανάμειξη του αερίου με τον αέρα. Διάφορες διατάξεις μάς επιτρέπουν να ρυθμίζουμε την αναλογία, ώστε να επιτυγχάνουμε το βέλτιστο CO2 (βλ. σχήμα 3).

Το αέριο, πριν φθάσει στο σύστημα Venturi, περνά από μία βαλβίδα αερίου (βλ. σχήμα 4), η οποία διακόπτει τη ροή του αερίου και φροντίζει για τη ρύθμιση της πίεσης και της μαλακής ανάφλεξης.

Ο θάλαμος καύσης
Ο θάλαμος καύσης είναι κυλινδρικού σχήματος και περιβάλλει τον εναλλάκτη (βλ. εικόνα 3), ο οποίος είναι κατασκευασμένος από σωλήνες ανθεκτικούς στη διάβρωση. Το νερό κατανέμεται στους σωλήνες κατά τρόπο που εξασφαλίζεται η μέγιστη συναλλαγή θερμότητας και η βέλτιστη ψύξη των καυσαερίων.

Στο κάτω μέρος του θαλάμου καύσης συγκεντρώνεται το νερό που συμπυκνώνεται, και από εκεί οδηγείται στην αποχέτευση, αφού πρώτα περάσει από σιφόνι, το οποίο πρέπει να γεμίζει με νερό κατά το αρχικό άναμμα και κατά την ετήσια συντήρηση.

Στο σχήμα 5 αποδίδεται σχηματικά το εσωτερικό ενός λέβητα συμπύκνωσης, ενώ στις εικόνες 4α και 4β απεικονίζεται η εσωτερική όψη του.


Σε ό,τι αφορά τα συστήματα ασφάλειας και ελέγχου, οι λέβητες αυτοί δεν διαφέρουν από τους υπόλοιπους λέβητες αερίου.
*Η κ. Δήμητρα Φαντάκη είναι εκπαιδευτικός, ηλεκτρολόγος μηχανικός Η/Υ του Ε.Μ.Π.
**Ο κ. Παναγιώτης Φαντάκης είναι μηχανολόγος μηχανικός, καθηγητής στο Λαϊκό Πανεπιστήμιο.


